Описание
Если Вы хотите заказать изделие из нержавеющей стали, замените первые две цифры артикула с 80.... на 81....
Характеристики
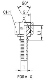
| Артикул | Бренд | DASH | DN | G | ID (дюйм) | L1 | WP (bar) | Вид |
| 802804 | CAST | -4 | 6 | 1/4 | 1/4 | 19 | 400 | X |
Показать полностью
Свернуть
Характеристики
WP (bar)
400
внутр. диаметр (дюйм)
1/4
Размер G фитинги Каст
1/4
Вид
X
DN
6
DASH
-4
Размер L1 фитинги Каст
19
WP (bar) рабочее давление
400
DN условный внутренний диаметр рукава
6
DASH размер продукции (рукава, фитинги, TC)
-4
Отзывы
Отзывов еще никто не оставлял
Ранее просмотренные
